Abriebfestigkeit

Beständigkeit von feuerfesten Produkten gegen Oberflächenabnutzung, verursacht durch die mechanische Einwirkung von sich bewegenden Festkörpern.

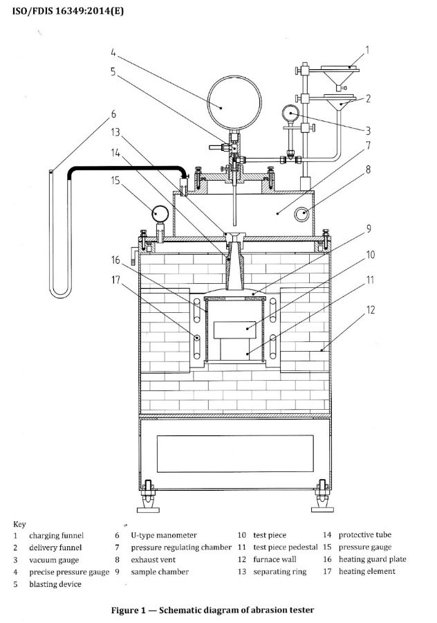
Bestimmung nach DIN EN ISO 16282 mit definierter SiC-Körnung in einem Luftstrom bei Umgebungstemperatur. Das gleiche Prinzip wird nach ISO 16349 bei erhöhter Temperatur (900 °C) angewendet. In beiden Fällen wird als Ergebnis das erodierte Volumen an Feuerfestmaterial in cm³ ermittelt.

Krebs
2019-04-16
Kalt-Abriebgerät für DIN EN ISO 16282
Heiß-Abriebgerät für DIN EN ISO 16349
Zurück